索尼最新專利技術曝光:可用于VR領域的手部追蹤技術
近日,索尼一項名為“配置可旋轉相機的游戲設備”專利技術曝光,該技術旨在研究一種可用于VR領域的手部追蹤技術。或許,下一步真的可以無需借助手柄等設備,而在游戲中實現擬真的交互。...
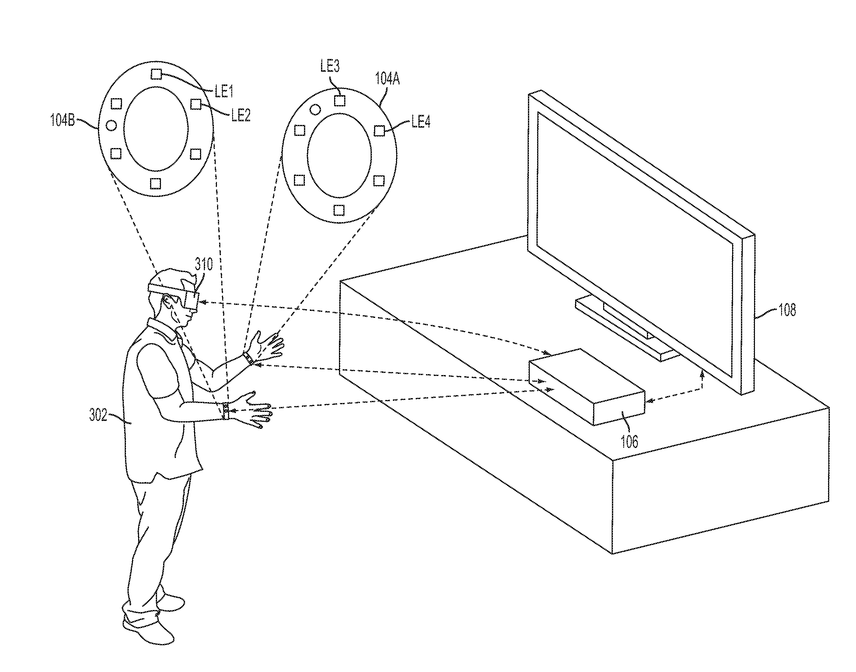
近日,索尼一項名為“配置可旋轉相機的游戲設備”專利技術曝光,該技術旨在研究一種可用于VR領域的手部追蹤技術。或許,下一步真的可以無需借助手柄等設備,而在游戲中實現擬真的交互。

索尼娛樂在美國申請了一項關于游戲設備的專利,專利摘要為:“這是一種確定手指位置的方法。該方法包括:使用多個可穿戴設備的攝像頭來捕捉一只手的圖像。所述可穿戴設備附著在另一只手的手腕上,可穿戴設備的多個攝像頭設置在設備周圍,兩只手互相捕捉對方圖像。同時還需重復捕獲兩只手的圖像、額外圖像。通過將捕獲的圖像數據流發送到特定計算設備中。所述計算設備處理所捕獲的圖像數據,以識別手指位置的變化。處理后的圖像數據流將進入頭戴式顯示器(HMD)生成虛擬環境下的交互圖像。”

也就是說雖然依然需要穿戴特殊設備,但是玩家的雙手或許將可以解放出來,去根據游戲內容進行更個性化的互動。玩家不用再借助手柄,鍵鼠等外設,而是通過自己的手去和游戲世界進行互動,相信游戲體驗和沉浸感都將獲得巨大提升。
該項專利提交時間是今年6月份,該技術目前正在研究階段,想要實裝還有很長的路要走。




魅族16X預熱海報:9月19日發布,雙索尼鏡頭+虹軟算法
日前,魅族科技正式宣布,將于9月19日下午2:30,于北京演藝中心舉辦“魅族16X新品發布會”。魅族官方也開始了該機的預熱,9月14日消息,魅族科技官方微博表示,魅族16X的相機...
HTC U12 Life和索尼Xperia XZ3新款手機發布
在IFA 2018 期間,HTC 正式推出旗下新機 HTC U12 Life ,此外,索尼也正式發布旗下 Xperia XZ3 新款手機,下面快速了解下這兩款新手機。...
HTC發布7月份業績:手機、VR業務低迷,營收創新低
日前,HTC發布了2018年7月份業績,營收為14億新臺幣(約合4570萬美元),環比下滑37.23%,同比下滑77.41%,為2003年以來的最差紀錄。 據業內消息人士稱,HTC在7月份的糟糕表現意味著,其...
索尼發布AF9和ZF9旗艦電視:網飛看劇優化、大師級畫質
索尼發布兩款新品4K HDR電視,分別是索尼BRAVIA MASTER AF9和BRAVIA MASTER ZF9,前者配備OLED屏,后者使用LCD液晶屏。相比老款,兩款電視此次的主要升級是加入Netfilx(網飛)的校準,顯...
索尼聯手韓國游戲公司打造“捉鬼敢死隊”AR游戲
據外媒報道,在《精靈寶可夢Go》推出兩年后,不可避免地出現了其他類似的AR游戲,其中一款就是《Ghostbusters World》。這款基于影片《捉鬼敢死隊》開發的游戲由索尼影業、韓國移...
索尼發布DSC-RX100M5A黑卡相機 0.05秒高速對焦
在索尼DSC-RX100M6發布不久,索尼日本官網又出現了一款型號為索尼DSC-RX100M5A的黑卡相機。作為索尼DSC-RX100M5的小改款,在其基礎上增加了一部分DSC-RX100M6的特性。索尼DSC-R...
索尼XZ2手機評測:索尼XZ2黑科技證言 體驗才是王道
索尼Xperia XZ2發布了已經有一段時間了,全新的設計,首款支持4K HDR的手機,為了增強娛樂性,索尼還增添了動態震動系統,從觸覺上增強了游戲以及影音體驗。如果從表面參數來看,索尼Xp...
小米VR一體機體驗:價格是最大賣點 其他中規中矩
上周的小米8發布會上,除了傳聞已久的三款手機以外,小米的VR一體機也終于亮相。 在第二天的溝通上,小米VR的負責人唐沐也明顯對這款產品信心滿滿。他還請來了前小米高管...
索尼新黑卡RX100 VI發布:配24-200鏡頭
正如早前傳聞所言,索尼5日晚間如期發布了其新款Cyber-shot RX100 VI消費級卡片相機,并在諸多方面都做出了顯著升級。首先,本次發布的新款RX100 VI相機配備了一只全新設計的24-2...
索尼Xperia XZ2 Premium:配4K HDR屏+驍龍845
6月5日,索尼高端旗艦Xperia XZ2 Premiu手機通過工信部入網許可,這意味它即將和消費者見面了,具體Xperia XZ2 Premium的售價及發售時間索尼并沒有公布。如圖所示,索尼Xperia XZ2...

