
微軟
IT科技網微軟專題欄目,提供微軟相關知識資訊文章,包括微軟資訊、微軟知識等,精心選擇與微軟的相關信息,讓您第一時間擁有微軟資訊的信息。
微軟機器人小冰重回微信 一年恩怨七夕得解
“阿根廷和德國,誰會贏啊?”“哎呀這兩隊還真不好說,阿根廷輸的概率大一點吧。因為梅西居然聚會上摟抱美女。哼!”不少人似乎還記得一年多以前調侃微軟人工智能機器人小冰...
微軟公布Win10手機版正式名稱:Windows 10 Mobile
微軟公布了Windows10手機版的正式名稱,“Windows10Mobile”。這一名稱不僅應用在手機上,也將應用在其他小尺寸的Windows設備上,比如Mini平板。...
微軟Windows 10系統或將兼容安卓應用
美國科技博客Thurrott今天撰文稱,Windows10兼容Android應用絕非明智之舉,反而會進一步降低Windows的重要性,導致開發者和用戶的流失。...
微軟Win10手機版將于今年發布 最早10月份
關于Windows10正式版系統上市的消息,一直十分引人關注,目前終于有了最新進展。此前微軟宣布Windows10正式版系統將在今年夏天上市,但是未披露具體時間,媒體猜測可能是7月底,隨著近日微軟推送Windows10Build10074更新,這一說法愈加可信。...
雅虎微軟可在10月1日后隨時終止搜索合作
北京時間4月21日早間消息,雅虎周一提交的監管文件顯示,該公司與微軟剛剛對合作協議進行了補充,使之可以在今年10月1日當天或之后的任何時間隨時終止這項交易。這份補...
微軟Windows 10手機版最新版明日發布
微軟WindowsInsider項目負責人GabeAul今天發布推文表示Windows周更新中將會在太平洋時間本周五上午10點發布Windows10forPhone的最新版本。數周前微軟公布了第二輪獲得Windows10系統的升級清單,其中包括Lumia1520在內的諸多設備,不過令人遺憾的是LumiaIcon和Lumia9...
微軟Win10手機增加傳感器 改進運動追蹤功能
在iOS和Android的夾擊中,WindowsPhone過得很不好,可微軟并沒有放棄繼續對它改進――他們將在未來Windows10中增加對更多傳感器的支持,并改進運動追蹤功能。...
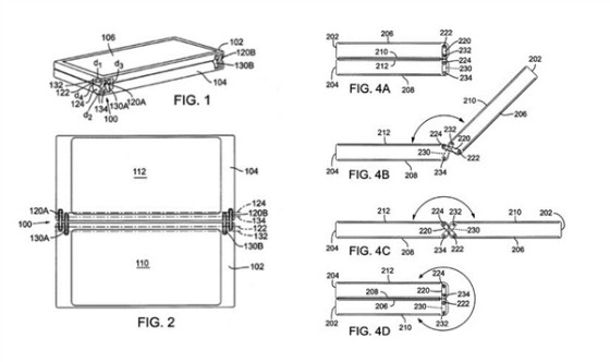
微軟新專利曝光 Lumia或將配備第二屏幕
微軟的一項新專利是用于手機和超級本的鉸鏈設計機制,具體來說,它幾乎完美地解決了手機無法張開180度的缺陷,關鍵是還能保持美感,不犧牲電池、厚度等參數。...
微軟承諾WP8.1將可升級Win10手機版
微軟發起了名為“ProjectMilkyway”(銀河工程)的計劃,目的就是讓所有手機用戶盡快更新升級。微軟承諾,Windows10將改變一切,絕對保證所有的WindowsPhone8.1用戶都能升級到Windows10手機版,而且只需要4-6個月就能全部完成推送,這將通過微軟和OEM合作伙伴共同完成。...
微軟Win10手機硬件需求表曝光:2K屏可搭4G內存
一份Windows10手機硬件需求圖表曝光在了網上。從圖片來看,Windows10手機最低內存要求為512MB,分辨率最低800×480,屏幕尺寸必須在3英寸到7.99英寸之間,機身存儲空間至少為4GB(4GB的話必須支持SD卡擴展)。...

